Министерство Юстиции Российской Федерации
версия для слабовидящих
×
Закрыть
Информация об официальном опубликовании
Документ официально опубликован в "Бюллетене нормативных актов федеральных органов исполнительной власти", N 17, 23.04.2012
ПРИКАЗ Ростехнадзора от 01.12.2011 N 680
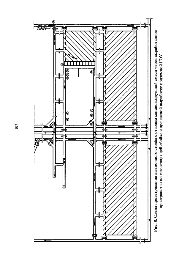
"ОБ УТВЕРЖДЕНИИ ИНСТРУКЦИИ ПО ПРИМЕНЕНИЮ СХЕМ ПРОВЕТРИВАНИЯ ВЫЕМОЧНЫХ УЧАСТКОВ ШАХТ С ИЗОЛИРОВАННЫМ ОТВОДОМ МЕТАНА ИЗ ВЫРАБОТАННОГО ПРОСТРАНСТВА С ПОМОЩЬЮ ГАЗООТСАСЫВАЮЩИХ УСТАНОВОК"
(Зарегистрировано в Минюсте РФ 29.12.2011 N 22815)
Справка к документу
Показывать страниц:
1
10
100
Для качественной печати:
PDF-файл документа (5 Мб)
<<
<
103
104
105
106
107
108
109
110
111
112
113
>
>>
Страница
108
из
120
<<
<
103
104
105
106
107
108
109
110
111
112
113
>
>>