Министерство Юстиции Российской Федерации
версия для слабовидящих
×
Закрыть
Информация об официальном опубликовании
Документ официально опубликован в "Бюллетене нормативных актов федеральных органов исполнительной власти", N 24, 11.06.2012
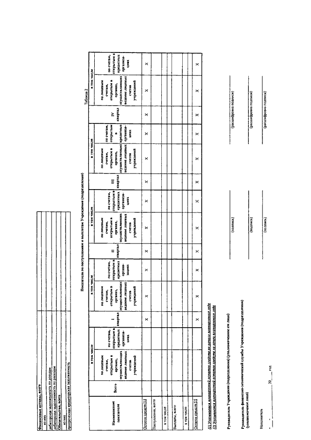
ПРИКАЗ Росреестра от 01.12.2011 N П/480
"ОБ УТВЕРЖДЕНИИ ПОРЯДКА СОСТАВЛЕНИЯ И УТВЕРЖДЕНИЯ ПЛАНА ФИНАНСОВО - ХОЗЯЙСТВЕННОЙ ДЕЯТЕЛЬНОСТИ ПОДВЕДОМСТВЕННЫХ РОСРЕЕСТРУ ФЕДЕРАЛЬНЫХ ГОСУДАРСТВЕННЫХ БЮДЖЕТНЫХ УЧРЕЖДЕНИЙ"
(Зарегистрировано в Минюсте РФ 28.04.2012 N 24024)
Справка к документу
Показывать страниц:
1
10
100
Для качественной печати:
PDF-файл документа (445 Кб)
<<
<
1
2
3
4
5
6
7
8
9
>
>>
Страница
8
из
9
<<
<
1
2
3
4
5
6
7
8
9
>
>>