Министерство Юстиции Российской Федерации
версия для слабовидящих
×
Закрыть
Информация об официальном опубликовании
Документ официально опубликован в "Бюллетене нормативных актов федеральных органов исполнительной власти", N 7, 18.02.2013
ПРИКАЗ Ростехнадзора от 06.11.2012 N 634
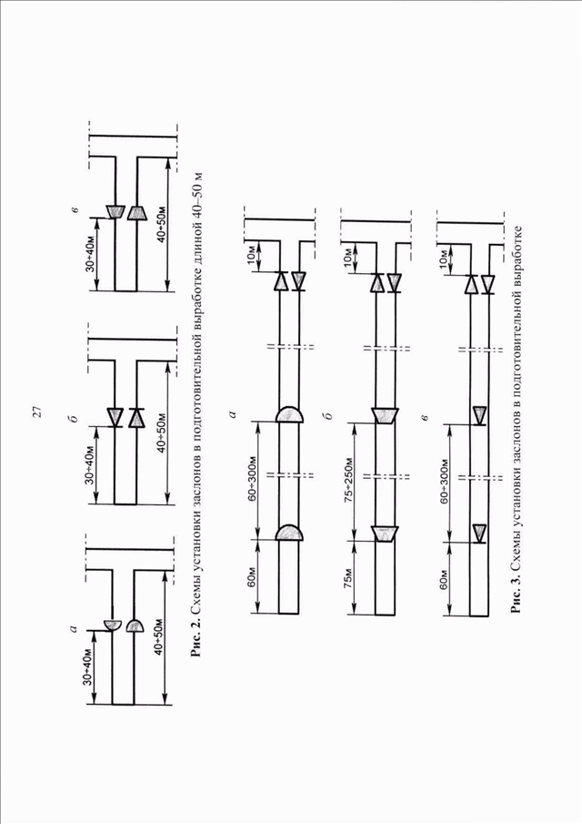
"ОБ УТВЕРЖДЕНИИ ФЕДЕРАЛЬНЫХ НОРМ И ПРАВИЛ В ОБЛАСТИ ПРОМЫШЛЕННОЙ БЕЗОПАСНОСТИ "ИНСТРУКЦИЯ ПО ЛОКАЛИЗАЦИИ И ПРЕДУПРЕЖДЕНИЮ ВЗРЫВОВ ПЫЛЕГАЗОВОЗДУШНЫХ СМЕСЕЙ В УГОЛЬНЫХ ШАХТАХ"
(Зарегистрировано в Минюсте РФ 25.12.2012 N 26359)
Справка к документу
Показывать страниц:
1
10
100
Для качественной печати:
PDF-файл документа (7 Мб)
<<
<
23
24
25
26
27
28
29
30
31
32
33
>
>>
Страница
28
из
39
<<
<
23
24
25
26
27
28
29
30
31
32
33
>
>>